Absolwent PRz laureatem konkursu „Student-wynalazca"
Arkadiusz Wyłupek, absolwent mechatroniki Politechniki Rzeszowskiej został wyróżniony w Ogólnopolskim Konkursie „Student-wynalazca”. Nagrodzone rozwiązanie „Urządzenie mechatroniczne do rehabilitacji i wspomagania prowadzenia pojazdu, zwłaszcza samochodowego” zostanie zaprezentowane na 12. Międzynarodowej Warszawskiej Wystawie Wynalazków IWIS 2018.
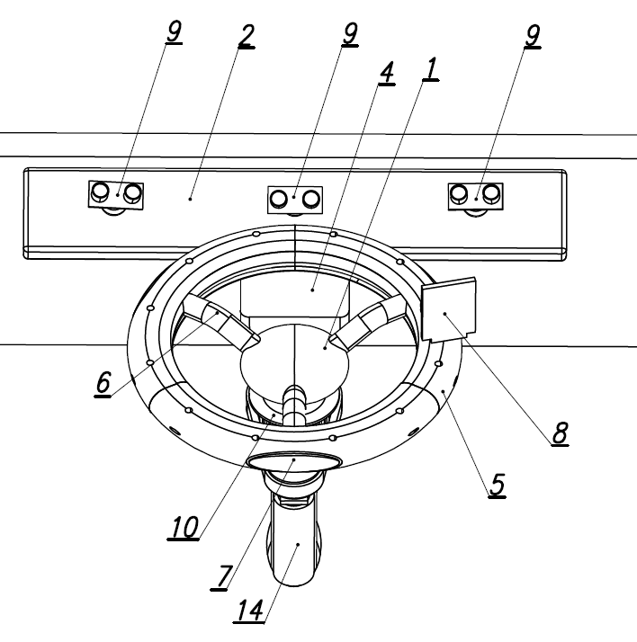
Urządzenie, którego współtwórcą jest dr inż. Jacek Stanisław Tutak, przeznaczone jest szczególnie dla osób po udarze mózgu, mających problem z zaburzeniami w funkcjonowaniu jednej strony ciała. Opracowane rozwiązanie ma pomagać podczas prowadzenia samochodu oraz rehabilitacji, informując czy pacjent prawidłowo wykonuje ruchy. Rozwiązanie usprawnia wykonanie ruchów kierownicą, np. przy problemach z całkowitym skręceniem, wyprostowaniem kierownicy.
Dzięki wynalazkowi można porównać siłę nacisku zdrowej i chorej ręki na kierownicę oraz szybkość reakcji. Opracowane rozwiązanie zawiera również moduł pomiarowy przyśpieszenia kątowego, prędkości kątowej i przemieszczenia kątowego kierownicy. System zawiera autorskie oprogramowanie, dające informację zwrotną czy nastąpiła poprawa sprawności u chorego.
Urządzenie ma możliwość monitorowania odległości barków i klatki piersiowej osoby rehabilitowanej od deski rozdzielczej. Służy do tego system czujników zamontowany na desce.
- Wynalazek pomaga w realizacji ruchu, rehabilitacji, diagnostyce i raportowaniu. Ma to na celu monitorowanie zakresu ruchu kończyną oraz zwrócenie uwagi na to, czy realizowane zadanie jest wykonywane przy pomocy nieprawidłowych ruchów obręczy barkowej. Nienaturalne poruszanie częścią ciała w konsekwencji może skutkować postępowaniem dalszych dysfunkcji – wyjaśnia dr inż. Jacek S. Tutak, współtwórca wynalazku, adiunkt z Katedry Mechaniki Stosowanej i Robotyki Wydziału Budowy Maszyn i Lotnictwa PRz.
Urządzenie zawiera moduły rehabilitacyjne w postaci modułu kierowniczego, odległościowego i napędowego. Mocowane są na kierownicy samochodowej, desce rozdzielczej pojazdu, atrapach pojazdu albo symulatorze.
Konkurs „Student-wynalazca” organizowany przez Politechnikę Świętokrzyską jest adresowany do studentów, doktorantów i absolwentów, którzy w trakcie studiów zostali twórcami/współtwórcami wynalazku lub wzoru użytkowego/przemysłowego chronionego prawem wyłącznym lub zgłoszonego do ochrony w Urzędzie Patentowym Rzeczypospolitej Polskiej lub odpowiednim urzędzie ds. własności przemysłowej za granicą. Do konkursu mogą być również zgłoszone wynalazki i wzory użytkowe, które powstały w ramach współpracy międzynarodowej, których współtwórcami są studenci zagranicznych uczelni.
Pliki do pobrania





